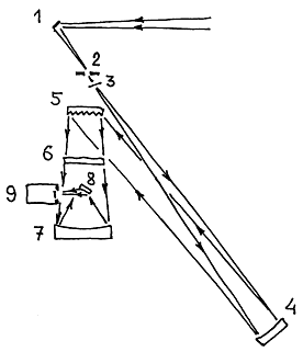
The optical layout of the Main Stellar Spectrograph


  1. folding mirror or beam splitter
  2. slit unit
  3. shutter
  4. collimator
  5. grating
  6. Schmidt corrector
  7. camera mirror
  8. folding flat
  9. CCD
MSS_optics

The layout of the preslit is presented here

MSS page